(!)Internet Explorer 11は、2022年6月15日マイクロソフトのサポート終了にともない、当サイトでは推奨環境の対象外とさせていただきます。

製造現場のためのリニアガイド総合情報

使用方法 / 取り付け面の設計

取り付け面の設計

取付面の設計

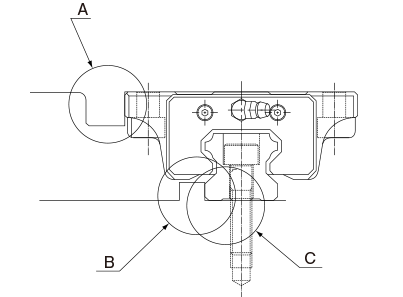
すみの形状

レールやブロックを取り付ける面のすみの形状が、レールやブロックの面取り寸法より大きなR形状などで加工してあるとき、突きあて面に正確に突きあたらない場合があります。したがって、型番ごとに記載しておりますす すみの形状に注意して設計するようにしてください。
(図2)

すみの形状(図2)

突きあて面の直角度

レールやブロックを取り付ける面と突きあて面との直角度がでていないと、正確に突きあて面に突き当たらない場所があります。したがって、取り付け面と突きあて面の直角度の角度誤差にご注意ください。
(図3)

突きあて面の直角度(図3)

突きあて面の寸法

突きあて面の設計の際、突きあて面の高さ・厚さに注意してください。高さは、高すぎるとブロックなどと干渉する危険があり、また、逆に低すぎるとレールやブロックの面取りにより、正確に突きあてができなくなります。また、厚さが薄い場合、横荷重を受けたときの剛性不足や横押しボルトで位置決めを行う際の突きあて麺の剛性不足により、精度不良をおこすので、ご注意ください。
(図4)

突きあて面の寸法(図4)

突きあて面と取り付け穴までの寸法公差

レールやブロックの突きあて面と取り付け穴までの寸法公差が大きすぎると、正確に突きあてができなくなりますので、ご注意ください。通常、形番にもよりますが±0.1mmを目標にしてください。
(図5)

突きあて面と取り合付け穴までの寸法公差(図5)

取り付けタップの面取り

レールを取り付ける際、取り付け面にタップ加工を施す必要があります。そのとき、そのタップ加工部の面取りが大きすぎたり、小さすぎたりすると、精度に影響がでる場合があります。
(図6)

面取り寸法の目安
面取り径D=ボルトの呼び径+ピッチ

例 M6(ピッチ:1)の場合
D=6+1=7

取付けタップの面取り(図6)

図面作成

リニアガイドをスムーズに動作させるためには、レールやブロックが取り付く面にも精度が必要となってきます。
以下の数値を目安に図面作成を行ってください。

  • 基準面や突き当て面の面粗度・平面度の目安
    面粗度:Ra1.6より高精度
    平面度:0.05以下
  • 2軸平行のとき
    突き当て面平行度:0.05以下
    取付面相互差:0.05以下